一、概述
LFEF型高溫玻纖袋除塵器是針對高溫煙氣除塵開發研制的新產品,該機采用微機PLC控制,分室反吹,定時、定阻清灰,溫度檢測顯示等措施,使玻纖布袋除塵器在高溫廢氣除塵中能高效、穩定運行,煙囪出口排放濃度低于國家規定的100mg/Nm3排放標準(可達≤50 mg/Nm3)。該設備可不停機分室換袋,操作簡單,安全可靠,運行費用低,是解決高溫煙氣除塵的有效設備,現該除塵器已被大型系列化,適用于礦熱爐、電石爐、回轉窯窯尾等高溫、高濕腐蝕性氣體的凈化。
二、結構及工作原理
1、結構
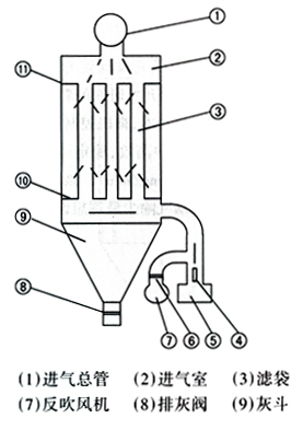
該除塵設備由含塵氣體入口至凈化煙氣出口,本體結構由進氣管路、進氣室、袋室、灰斗、排灰閥、出口管道及反吹風系統和清灰控制系統所組成。
除塵器本體為全鋼結構,并設計由防熱膨脹機構措施,外殼采用輕質巖棉板雙層保溫,外表用δ=0.5鍍鋅板防護,并采用抽拉鉚釘新工藝安裝,花板用冷沖壓壓延滾壓成型工藝,既增加強度又保證設備質量。
除塵器采用的是經特殊處理的耐高溫玻纖布袋,其抗折性、耐磨性、強度及熱沖擊性能均較好,并可根據不同的煙氣特性,對玻纖進行相應的處理,達到需方使用要求和排放標準。
2、工作原理
(1)過濾:含塵煙氣經煙道進入進氣管,由上部進入進氣室,部分粗粒由慣性而落入灰斗,其余部分煙氣粉塵進入濾袋,經內表面過濾后,進入袋室,然后經由通風槽、排氣閥、出氣管道由排風機排入大氣,該設備為上部進氣,負壓操作內濾式玻纖袋除塵器。
(2)清灰及自動控制
除塵器運行一段時間后,濾袋內表面捕集的粉塵層增厚,除塵器的運行阻力上升,當增加至一定值后,這就需要對濾袋進行清灰,即通過外力將濾袋內表面上附著的粉塵清除掉,使除塵器的運行阻力下降,阻力下降到一定值后,該室濾袋又投入正常運行。
整個清灰過程主要是通過反吹風來運行的,當阻力上升到需要清灰時,微機指令關閉排氣閥,打開反吹風閥,將原來膨脹的除塵濾袋在反吹風的作用下壓癟變形,使其達到清掃濾袋內表面附著粉塵的目的。清灰落入灰斗,經排灰閥進入輸灰機構排出,整個清灰過程是分室輪流進行的,不影響除塵器的正常工作。
定時清灰是按時間程序,各室根據可調時間參數自動進行輪流清灰,除塵器清灰周期可根據工藝要求設定調整。
除上述控制方法外,還設置有手動控制機構,可人工進行正常清灰。
三、溫度控制
煙氣溫度一般在60~300℃范圍內波動,煙氣含濕量在4~12%范圍左右,為了防止除塵器的結露和糊袋以及由于溫度過高發生燒袋等惡性事故發生,特采取如下措施:
(一)袋式除塵器的進氣管道、本體及灰斗要采取保溫措施,以防止除塵器結露。
(二)在除塵器的進氣口、排氣口等處安裝有溫度檢測與自動報警裝置,廢氣一旦超過除塵器的使用溫度范圍,則發出警報并自動采取溫控措施,以確保除塵器安全運行。
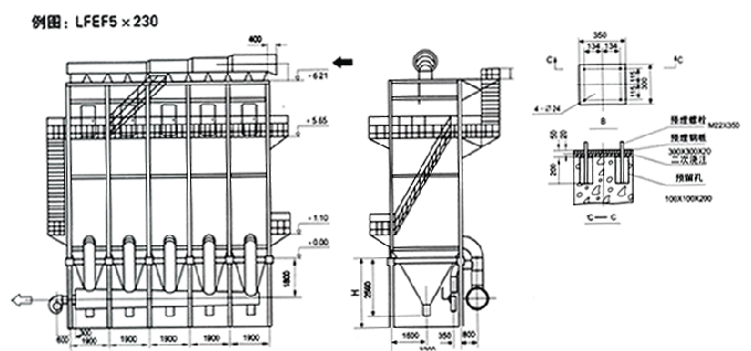
四、主要技術參數
| 型號規格 | LFEF4× 173HSY/H |
LFEF4× 173HSY/H |
LFEF4× 173HSY/H |
LFEF4× 173HSY/H |
LFEF4× 173HSY/H |
|
| 性能參數 | ||||||
| 處理風量(m3/h) | 15000~20000 | 20000~26000 | 20000~27000 | 30000~34000 | 40000~43000 | |
| 過濾面積(m2) | 692 | 865 | 927 | 1150 | 1432 | |
| 單元數 | 4 | 5 | 4 | 5 | 4 | |
| 濾袋總條數 | 280 | 350 | 328 | 410 | 352 | |
| 過濾風速(m/min) | <0.5 | |||||
| 除塵器阻力(Pa) | 980~1570 | |||||
| 收塵效率(%) | >99.8 | |||||
| 適用溫度(℃) | <280 | |||||
| 出口排放濃度mg/m3N | <150 | |||||
| 外型尺寸長×寬×高(mm) | 9440×5530×10750 | 11300×5530×10950 | 9600×6000×10950 | 11500×6000×12060 | 12000×6800×11400 | |
| 濾袋規格(mm) | φ150×5250 | φ150×5250 | φ150×6000 | φ150×6000 | φ180×7280 | |
| 配用烘干機規格 | φ1.5×12M | φ1.5×15M φ2.2×12M |
φ1.5×15M φ2.2×12M |
φ2.2×12M或 φ1.5×18M |
φ2.4×18M | |
| 重量(噸) | 31.4 | 34.28 | 38.43 | 42.64 | 55.13 | |
五、安裝與維護
1、本除塵器為全鋼結構外殼,因此,必須嚴格按照設計圖紙安裝與驗收;
2、進氣管、排氣管,各種閥門,螺旋輸送機等與設備的連接要用填料,整個除塵設備系統要保證其氣密性;
3、濾袋的捆扎,安裝濾袋要特別強調質量,在搬運過程中要特別小心防止濾袋與周圍硬物、尖角物件接觸,嚴禁踩袋、重壓、折疊,以防止濾袋出現破洞和裂口影響除塵效果;
4、除塵器運行時應隨時監視排放情況,如發現煙囪冒灰說明煙氣短路,應查明原因,如果濾袋破損,應更換新袋;
5、除塵器正常運轉時,分室更換濾袋,需嚴格按操作規程進行,并有監護人員,以防止意外事故發生;
6、除塵器引風機停止運行前必須進行清灰,把濾袋上的積灰清除干凈,同時將灰斗內的灰塵排凈,以防停機后灰塵干結于濾袋內和除塵器灰斗內,影響除塵效率和設備使用壽命。
六、設備的調試與使用
1、除塵器本體部分:
A、在設備安裝完畢后,應將袋室、進氣室、灰斗等部件內的雜物清除干凈,檢查各傳動零部件,看是否靈活,并注以相應的潤滑劑;
B、檢查各濾袋是否完好,除塵布袋應拉緊、掛直(大約拉力為30kg力左右),檢修門是否嚴密,如不嚴密,需整形或更換密封填料;
C、檢查各儀表框與除塵器各電器執行元件的接線是否正確。
全部檢查完畢后可以按以下程序調試試車:
A、接通壓縮空氣,檢查壓縮空氣各管道接頭、截止閥、濾氣器、調壓閥、油霧閥、電磁閥、氣缸等氣動元件安裝是否嚴密,然后操縱電控裝置的開關,向電磁閥輸出動作信號,看各氣動元件工作是否正常;
B、起動排灰裝置,檢查是否合乎工作要求;
C、起動主風機,注意觀察除塵器空載運行的工作情況;
D、逐室檢查反吹風清灰的情況,看反吸反吹清灰的效果如何;
E、在進口總管路上測定風量、風速、阻力等數據,以便與設計數據相比較;
F、除塵器開始帶塵運行時,不要開啟反吹清灰機構,應讓灰塵慢慢積聚在濾袋內表面,運行一段時間后,待袋內外壓差達100mm水柱以后再開始清灰裝置,進行反吹清灰,以利于濾袋內表面建立原始粉塵層,當清灰后壓差恢復到50mm水柱時即可停止反吹清灰,此時克將反復試驗后所得佳效果的控制程序固定在微機數據庫內。
除塵器正常運行后,應根據情況隨時清除灰斗內積灰,以防積灰過多,增大負荷,損壞電機。
如果正常運行時濾袋內外壓差很小,說明塵氣短路,或是漏氣,或是濾袋破損,應及時檢修或更換濾袋。
2、電控部分
(1)電控清灰的安裝
A、接通差壓變送器與單指針指示報警儀的信號線(其補償電阻值按電控使用說明書規定);
B、將報警儀的上限報警信號與電控儀接通;
C、將電控儀的輸出線控制標準氣缸的電磁閥接通。
(2)電控清灰的操作
在檢查連接線路、儀表無誤后,調節報警器上限報警值后,接通電源,用手動操作,使各部工作正常后,可根據除塵器的風量、粉塵情況(濃度、干濕度)選定清灰程序(應根據設備初調試時的各項技術參數及理論與經驗,選擇佳程序控制),確定后可進行脈沖控制儀自動控制操作使除塵器清灰進入全自動工作狀態。
七、用戶須知(供貨范圍)
1、除塵器主機包括:箱體、灰斗、框架、樓臺、平梯、濾袋裝置,本體內進、排風管及反吹風管道和機組本體內的壓縮空氣管道裝置,及各管道上的電控氣動閥門及排灰閥。
2、與設備配套的主引風機,反吹風機,空氣壓縮機,輸灰裝置以及設備以外的進、排氣管,壓縮空氣管路,外部保溫材料及保溫層防護鐵板由用戶自理(風機、空氣壓縮機、輸灰裝置及保溫材料亦可代辦)。
3、本設備只提供主機,基礎部分由用戶自行考慮,設備的照明由用戶自行配置。
4、除塵器的電控部分,訂貨時需單獨簽約,儀表電控柜與本體的聯接由用戶自理。
5、本除塵器采用經硅油處理的玻纖布濾料(耐溫300℃),本公司提供設備用袋和備用袋。
6、除塵器的壓氣系統有三大輔件:調壓閥、分水濾氣器、油霧器及壓縮空氣本體框架內管道,使用時由用戶接氣源管道供氣。
7、如用戶需用該設備,請來函聯系,本公司可提供各類型號設備外形尺寸。





<>
<>




